Dodaj produkty podając kody
Dodaj plik CSV
					Wpisz kody produktów, które chcesz zbiorczo dodać do koszyka (po przecinku, ze spacją lub od nowej linijki). 
					Powtórzenie wielokrotnie kodu, doda ten towar tyle razy ile razy występuje.
				
FANAR Gwintownik maszynowy M6 (C2-113X01-0060)
Wysyłka24h
							Nowość
						
FANAR GWINTOWNIK WYSOKOWYDAJNY M6 DIN-371-B HSSE Z POWŁOKĄ TiN.
Producent: FANAR Ciechanów
Gwintownik 800X jest wersją rozwojową dobrze znanego i funkcjonującego na rynku od wielu lat gwintownika 800. Jego konstrukcja została radykalnie zmieniona, co umożliwiło poszerzenie pola zastosowań o stale nierdzewne.
Wykorzystane innowacyjne technologie produkcji gwarantują nawet dwukrotnie wyższą od dotychczasowej trwałość oraz wydajność obróbki.
Wszystkie te cechy czynią gwintownik 800X najlepszym wyborem dla krótkich i średnich serii produkcyjnych, oferując w dalszym ciągu korzystną relację ceny do jakości.
- gwintownik wysokowydajny M6, wg DIN-371-B
 - nr katalogowy: C2-113X01-0060
 
- wykonanie ze stali szybkotnącej kobaltowej HSSE z powłoką TiN
 
- do otworów przelotowych o maks. głębokości 3,0 x średnica gwintownika
 
- zastosowanie do materiałów:
 - stal konstrukcyjna węglowa i niskostopowa,
 - staliwo, stal do ulepszania, stal stopowa i narzędziowa,
 - stal nierdzewna
 - żeliwa
 - stopy aluminium i miedzi
 
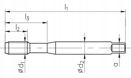
- d1(M)=6mm,
 - P(skok)=1,00
 - l1=80mm,
 - l2=18mm,
 - l3=30mm,
 - d2=6,0mm,
 - a=4,9mm
 - [zalecana średnica otworu dla gwintu]=5,00mm
 
- tolerancja ISO2(6H)
 
Marka
Symbol
5900920689086
Kod producenta
5900920689086
Kod producenta
C2-113X01-0060
Liczba elementów w zestawie
1 szt.
Waga produktu z opakowaniem jednostkowym
0
150 kg
Marka
Fanar
Wysyłka
24h
Zapytaj o produkt
							Napisz swoją opinię
						

















